Small-batch vat pasteurization alternatives

Started by John@PC, July 23, 2015, 04:12:37 PM

Previous topic - Next topic

John@PC

This post is a result of some discussion with amiriliano where asked the question if there are less expensive alternatives to commercial vat pasteurizers.  I myself don't use raw milk often and had to learn a bit about current pasteurization methods, both commercial and DIY.  I do have some thoughts but first I wanted to establish parameters:

1) Capacity:  Would max of 6 gal. be a good start point (I know a lot of you would want 15 or more but for testing I would need to start smaller).
2) What would be optimum pasteurization time / temperature?  145F for30 min.?
3) Assume you're milk is 40F starting what is maximum time you would want to take to get to target?
4) After pasteurizing how quickly does the milk need to be cooled and to what temperature?

I assume there are a few of you that may already be doing low-temperature vat pasteurization and if so please share your methods and equipment.   

IllinoisCheeseHead

Hi

I would be interested.

6 Gallons is fine although perhaps a bit large for me.  I would want the temperature to raise on no less than 20 to 25 minutes.  Currently that is what I achieve with my set up which includes an automatic stirrer (Starting at around 37 degrees).  Once I am done with pasteurizing, I cool in about 20 minutes with ice to 100 degrees and inoculate then but continue cooling to 88 degrees.  Total cooling time is about 30 minutes.

Thanks

qdog1955

  OK---I understand that there are lots of regulations on making cheese that I'm not familiar with---especially in small batch operations-----but is there some reason that a small operation wouldn't just use milk that is already pasteurized? And I'm not referring to the benefits of raw milk verses pasteurized----It just seems it would be more cost efficient to source the milk that you want---from the git go.
Qdog

John@PC

Quote from: qdog1955 on July 23, 2015, 07:54:45 PM
  OK---I understand that there are lots of regulations on making cheese that I'm not familiar with---especially in small batch operations-----but is there some reason that a small operation wouldn't just use milk that is already pasteurized? And I'm not referring to the benefits of raw milk verses pasteurized----It just seems it would be more cost efficient to source the milk that you want---from the git go.
Qdog
I'm not talking commercial here Qdog; just home / hobby cheese makers who have a good source of raw milk, maybe from livestock they raise, that prefer to low-temperature pasteurize before culturing.   Assume you have a small flock of goats (or is it herd, gaggle, bevy...  ::)) and you have a few gal. of milk you want to pasteurize a week and don't want to shell out $400 for a pasteurizer that will do 2 gal. max.  Is there a good, easy, lower cost and larger capacity solution?  That's where I'm coming from (or rather, going).

Sweet Leaves Farm

For fresh cheese, aged under 30 days, you always have to pasteurize. And yeah, it doesn't come out of the goat that way. ;)  It would be nice to have a 4-6 gallon pasteurizer so I could practice my recipes and make my HAACP plan, and know I wouldn't have as many not perfect batches before I move up to the big batches. And for feeding baby goats, current protocol for most farms worried about biosecurity is to pasteurize all the kids milk. I only have 8 on the bottle right now, and they drink 4.5 gallons of milk a day.

I was looking at this, but haven't really investigated further: http://www.amazon.com/Ball-FreshTech-Electric-Canner-Silver/dp/B00SLLS2MI

It holds 5 gallons and the pot removes for cleaning. Is there anyway to add thermometers to the milk and airspace?

An old favorite of many people was the Weck canner/ pasteurizer: http://www.khimairafarm.com/weck.htm
which unfortunately, is no longer made. At least I couldn't find any.

From start up at 40F to finish at 40F, it shouldn't take more than 2 hours, otherwise you're compromising quality and losing lots of good vitamins. Of course if you only need to drop down to 80-100F, then you have a little more leeway.

Right now I pasteurize on the stove in 5 gallon pots, up to 165F, because it only takes 30 minutes to get to 165, and I only have to hold it for 15 seconds, then put the whole pot in the ice bath in the sink. More of a time management decision, than quality...


qdog1955

John---yes I understand all of that----but the original thread from Amarlino was concerning the availability and affordability of a small pasteurizer that meets those codes for a small commercial operation. Small batch pasteurizing ----4 to 5 gallons isn't all that difficult---until the codes make it a rocket to the moon project. Seriously---$6,000 to $12, 000 to pasteurize 5 to 10 gallons of milk seems like extreme overkill.
Qdog

John@PC

#6
Thanks for the input Jennifer and Qdog. I looked at the Ball canner but didn't see a removable container (watched the video link on the last product picture).  The drain is a nice feature though.  Considering what you and Qdog are saying it sounds like stove-top pasturization isn't a problem and the goal would be to come up with a method that follows all the codes and requirements that a commercial system does.   Anyone have a link to "codes and requirements" for a small commercial canning pasteurization system?  I've seen A-3 certified pasturizers but I've also seen some commercial systems that don't claim to be A-3 certified.  I'm guessing that there has to be precise temperature control of steam / hot water space as well as milk, and perhaps with a programmed time/temp ramp-soak control?  I'll do some more research but it really would be nice to have some "insider" consultants ;)?

Update: Assuming the vat pasteurizer needs to be 3-A rated that's going to be a bridge too far. I did find the standard (3a 24-03 non-coil type batch pasteurizers for milk and milk products).  Cost just to get a pdf of the standard is $150 and if you look at the summary there are references to other standards (that by the way cost $150 too >:().  Apologies to amilriliano and Qdog but "no A-3 for me".  Fall-back is to come up with something like this but much lower cost?  Would something that could handle 7 gal. with temperature control be worth paying $250 to $300 for? 

qdog1955

 I would think for home use that would be a darn good deal for people who are worried about raw milk safety.
Qdog

Sweet Leaves Farm

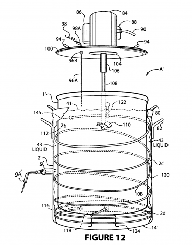
I found a pic of a patented pasteurization vat. I don't know if this helps...


Sweet Leaves Farm

I was thinking that to keep the cost down, you could use a connection for a sink faucet. Pre heat the hot water and have cold water, when needed. Operation would be: connect hose to faucet, turn on hot water, fill unit. Start unit. Turn on cold water, but the mixing valve would be closed, and it would add the water when needed.

The auto mixing valve would be pricey.

I also know that you have to use a leak detection sanitary valve at the bottom of the vat. But that wouldn't matter unless you were trying to go A-3.

awakephd

Sounds intriguing! I don't have regular access to raw milk, so it wouldn't be something I would get ... unless, perhaps, the same vat could also be configured for the cheese making -- ??
-- Andy

Bantams

Requirements for commercial vat pasteurizers (in short):
-Be able to heat and hold milk at 145+ for 30 minutes (161 for 15 seconds is not an option for vat pasteurizing)
-Stir constantly and effectively so every particle of milk is up to temp, the whole time (which also means the vat must be round, not square)
-Any outlet valve (if there is one) must be a close-coupled leak-detection valve ($2000+ new), or have no valve at all (pump milk out instead)
-Airspace must be heated to 150+ the whole time
-Have indicating and recording thermometers for milk and airspace, with a 24 hour temp-recording chart (Anderson's are about $2000)
-Have a way to chill the milk to 80-100 degrees, unless you pump it out first and chill it some other way
-And of course, all 3A stainless steel with extremely smooth welds

For consideration, a C Van't Riet 35 gallon vat pasteurizer takes at least an hour to bring 40 degree milk to 145.  I'm not sure about the larger models.  Cooling takes 15 minutes of cold water running through the jacket, then another 15 to coast down to 90.

The cheapest option I have seen is a steam tilt kettle (no valve needed) that has a lid custom welded with fittings for the thermometers, and a motor and paddle added.  You can't chill in it if it's a self-enclosed unit.  They come in every size from 2-200 gallons.  A pasteurizer under 4-5 gallons could be heated on the stove, but beyond that you need side and floor heating for even, fast heating.  Look here: http://www.ruggleshill.com/_pdf/MA_MicrovatPasteurizer.pdf
Mike Viera in Sunnyside, WA makes custom pasteurizers out of steam kettles.

BTW, any milk for making pasteurized cheese must be pasteurized at the final processing facility.  So a cheesemaker can buy pasteurized milk, but must re-pasteurize in their facility.

John@PC

Thanks for the info and links Bantams and a cheese for your trouble.  I just finished scanning the FDA's PMO for vat pasteurizing and your summary would have saved me a lot of time.  When I started this thread I really didn't know the extent of what it's going to take to satisfy these guidelines and still satisfy the shallow-pockets of some of us forum members ::).  I keep hearing the time to heat from 40 to 145F is 1 hr typical but I still can't get someone to say what is the maximum allowable time is. The tilt-kettle sounds interesting; do you have any recommendations as who to contact there?

By the way, I did read the link to Tricia Smith's paper and dropped her an email saying what we crazies are trying to do ;).

Bantams

I don't think there is any legal requirement to raise the temp in a certain time.  However, on one occasion the hot water heater wasn't working at a dairy and the vat took three hours to reach 145.  The chevre went goaty and strong at just a week or two.  So you will definitely have loss of quality if it takes too long.

John@PC

Thanks again Bantams.  One would think that "time to target temp" is a critical parameter but it does seem hard to track down. 

Forgive me but if the chevre went "goaty" is that a bad thing :)?